《谭谈交通》将被全面下架,幕后“黑手”被曝光
•
www.skyibis.com
7月10日下午谭乔发文:正在外面拍安全宣传视频,惊闻【谭谈交通】被全面下线并可能面临数千万的巨额赔偿(好吧,我并没有吃惊)。拍摄的【公益普法视频】视频,十几年来在网络上被大家无偿观看和二创传播,你们的谭sir我最后可能赔得裤子都没了。真是好手段。算了,还是去看部经典电视剧吧,挺精彩的。对此,你怎么看?

《谭谈交通》是成都本土一档寓教于乐的交通警示类节目。因为其贴近大众的节目特色和诙谐幽默的主持特点,赢得了成都市民的一致好评。其中很多期经典节目,在全国各大电视台转载,受到了热烈的关注。

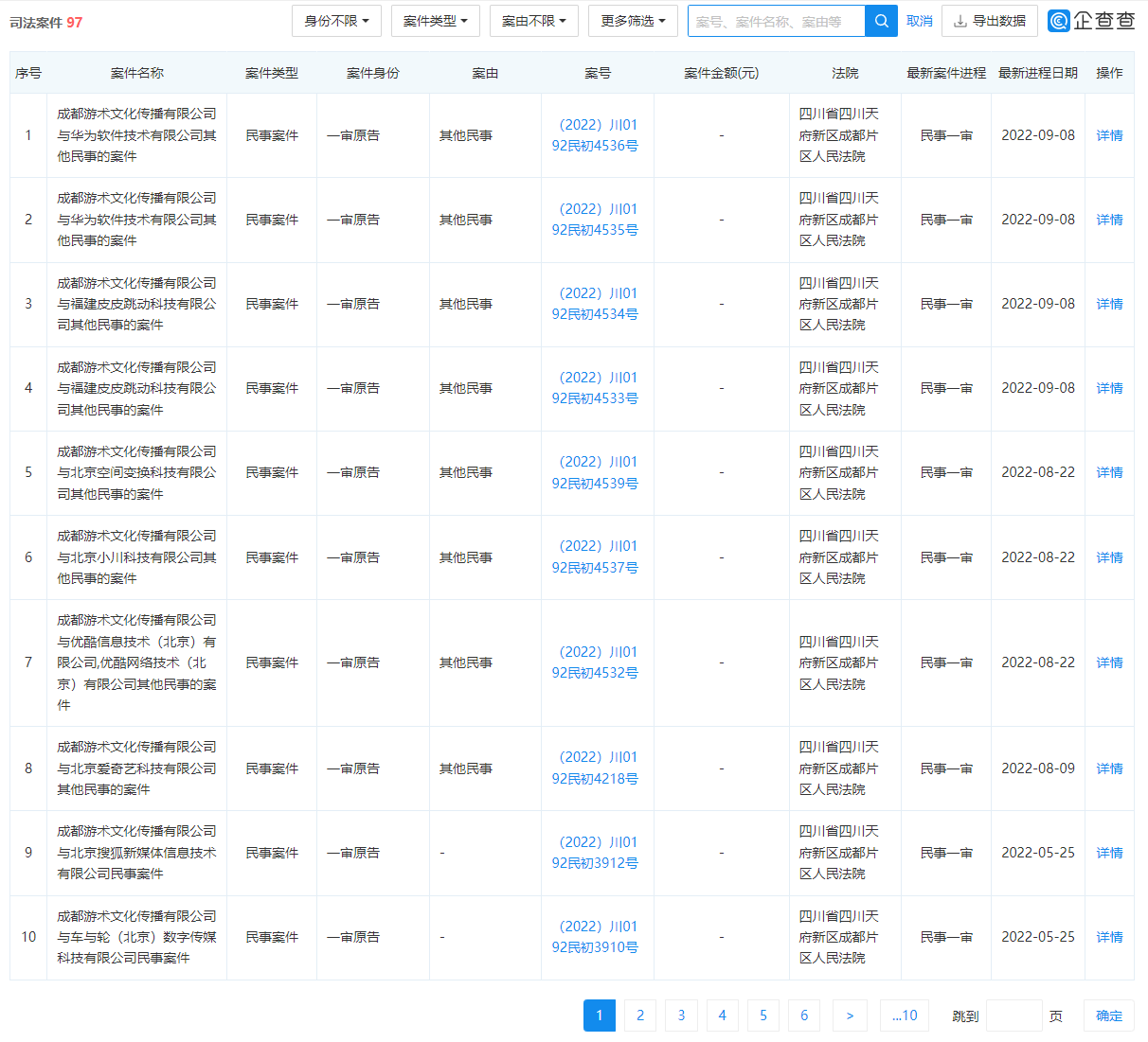
《谭谈交通》将被全面下架,幕后“黑手”被揪出!企查查网站显示,向其索赔的成都游术文化传播有限公司只有两个人,一个叫张宇航,一个叫邱健。成立仅2年,已经有了97条司法案件,而且都是原告。被告有B站、华为、腾讯、优酷、爱奇艺、搜狐、百度、咪咕、乐视,快手等等。

免责声明:本文内容由互联网用户自发贡献,该文观点仅代表作者本人。本站仅提供信息存储空间服务,不拥有所有权,不承担相关法律责任。如发现本站有涉嫌抄袭侵权/违法违规的内容, 请发送邮件至 举报,一经查实,本站将立刻删除。
