汪小菲有钱还是大s有钱(汪小菲目前资产多少亿)
汪小菲表示未来将以朋友的身份愉快相处,大S也祝福汪小菲,希望对方过得更好。

对于两人的结局,网友们并不意外。
不过,大家更关心法院会将如何分割双方名下将近9亿台币财产。报道称,大S名下有价值6亿台币的豪宅,而汪小菲名下也有3.5亿台币房产。

汪小菲曾被称京城四少之一,不过这几年生意并不很好,一度被爆经济出问题。大S自从二胎后,接的工作就非常少,除了偶尔参加综艺,就没有再拍过剧和电影。
此前,台媒称大S名下有三套豪宅,均位于台北信义区。

一套房产在“冠德远见”,房子总面积约为176.3坪。在台湾,房子的计算单位一般是“坪”,一坪差不多等于3.3平方米。而信义区一坪均价差不多80万左右,算高档小区聚集地。

大S这所房子位于19楼,差不多510平方米,总房价约为2.76亿台币(约合人民币6338万)。
“冠德远见”小区并不大,一共才122户人家,不过环境特别好,各方面设施齐全,非常适合居住。


另外两套房产,一套是大S婚前就购买的位于信义区国家艺术馆的豪宅,价值约2亿台币,折合人民币4595万人民币。
还有套信义区豪宅虽然也在大S名下,但是婚后2016年购买,目前市值为4亿多台币,约为 8272万人民币。
大S喜欢欧式装修风格,所以装修也价值不菲,墙壁都是用大理石材质,低调尽显奢华。

不过,“冠德远见”已经被卖掉,据说是弥补亏空的生意,为了能早点脱手,卖出的价格仅为市场价八折。

所以,大S名下只有两套价值6亿台币(约为1.2亿人民币)的房产需要分割。
除了以上房产,两人在北京还有价值上千万的豪宅,与伊能静、董洁等明星为邻,如今价格应该上亿。

内部装潢也相当奢华,客厅中西风格兼并,大方典雅,里面摆件也价值很高。


除了房产,汪小菲还曾经买了不少豪车。
俏江南生意最好时,汪小菲买过一辆兰博基尼盖拉多,橙色车身非常抢眼。而这台超跑当年售价高达428万元,加上各种税费和保险,落地价超过500万。

结婚后,汪小菲又买了一台150万超大空间的路虎,低调不少,更实用。

大女儿出生后,汪小菲购买了一台宾利,而这款车入门级别也要289万。
除此之外,汪小菲还有两辆奔驰,一辆2010款S600 L商务车,售价260万,另一辆则是奔驰大G,售价也高达200多万。
据称汪小菲家里还有三台奥迪,总价值超过300万。当年,车牌还挂上了军牌,被王思聪嘲笑吐槽。

汪小菲曾为了讨好妻子也拓展台湾市场,花费3.5亿台币(约8000万人民币)在台开了一家名为“S Hotel”精品酒店。

定位比较高档,每月租金就高达700万台币(约为160万人民币)。本来经营就很一般,不少住过的人直接吐槽就是快捷酒店,如家PLUS,完全不值上千房费。

疫情后,由于没有观光客,酒店一直处于亏损状态,“冠德远见”豪宅卖出就是为了挽救酒店生意,不过汪小菲后来否认。

而“S Hotel”之后被当做防疫酒店, 不再有钱赚,更被爆出恶意裁员,强制员工无薪。

汪小菲也索性彻底放弃中国台湾的事业,直接回内地。
他其实一直想重振事业,不过几次投资都不顺利。
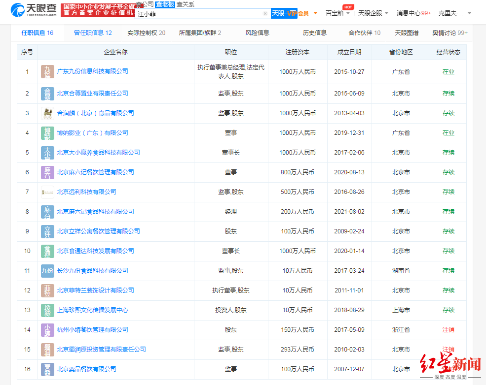
但据天眼查显示,汪小菲名下有16家公司,身价被估超过23亿。

其中,合润麟(北京)食品有限公司成立于2013年4月,注册资金1000万人民币,汪小菲持股高达92%,是名副其实的大股东和实际控制人。公司成立后,大S曾经是品牌官宣代言人,不过推出的饮品大部分网友都没见过。2015年数据显示,该公司净利润只有200元,现如今则显示商标为无效状态。

汪小菲曾出过一本书《1981》,但销量特别差。
于是,这两年汪小菲又重操旧业,杀回餐饮界。
近一年来,汪小菲一直在内地忙于饭店生意,社交平台上也不断为自己饭店宣传。
如今,汪小菲是北京食通达科技发展有限公司董事长,持有63%股份。
在食通达公司旗下,有粤洱堂和麻六记两家餐饮品牌。
麻六记装修非常上档次,尽管价格算中上档,人均消费差不多149,但生意非常不错,常常人满为患。

有网友查询得知,2020年8、9月份起,麻六记先后在北京、上海注册公司,虽然法人显示的是宋娜,不过背后实际控股人却都是汪小菲。
汪小菲则趁着麻六记生意好,加快开设新店,将在2021年底开第20家店。

除了餐饮生意,汪小菲透露将在海南投资一个康养中心,据说总金额20亿左右。

全球经济都非常低迷,沉迷于实体经济的汪小菲出手就几亿、二十几亿,一旦出现问题,肯定很难翻身。
大S嫁给汪小菲后,并没享受太多豪门富贵,反而一直靠她名气营业。
另一边,汪小菲或许觉得大S长期不营业,曾吐槽大S不去工作,只忙着带孩子。

虽然近年来,大S没有参加电影、剧,不过其实也没停止挣钱。
据不完全统计,在2019到2020年期间,大S曾代言过奶粉、女性用品、化妆品、牛奶等众多品牌。不过,目前大S代言仅剩下从2019年开始的某胶原蛋白产品。

参加四大综艺,《幸福三重奏》、《Beauty小姐》、《我们是真正的朋友》和《成为妈妈后》。

据闻《幸福三重奏》大S和汪小菲片酬高达8400万台币(约合2000万人民币)。并且这个片酬是税收实际拿到手的。


当然,这些收入比起她巅峰时期要差得远。
当年,大S是有名的美容大王,曾与八九个知名大牌等合作过。为某品牌代言手表,代言费高达7位数。


代言豆浆店收入高达上千万。
那时候大S曾登上福布斯排行榜,位列第16位。

大S家也堪比是小型奢侈品店,尤其喜欢买鞋,曾经囤了近400双鞋,而五位数以下的鞋子被她认为相当便宜。她家里的鞋子和手袋,加起来都价值不菲,这还不算大量高昂的服装、化妆品和饰品。



大S一直都是一个对自己非常狠的女明星,自尊心很强,据说大S也表示,自己是等汪小菲事业好起来才提离婚。

都说夫妻本是同林鸟,大难临头各自飞。大S和汪小菲当时属于闪婚,说是嫁入豪门,但多年来一直被嘲笑倒贴。现如今,这两公婆分道扬镳并不意外,也祝各自安好吧。
